流程图

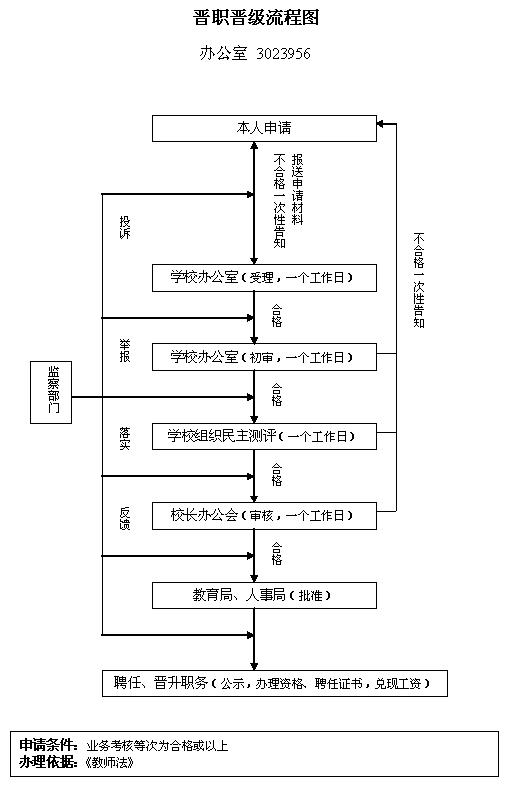
晋职晋级流程图

日期:2008-04-24 23:31点击数:6549次
 
相关阅读:

• 年终考核流程图2008-04-24 23:30

• 教师资格认定流程图2008-04-24 23:30

• 职务评聘流程图2008-04-24 23:28

• 岗位设置流程图2008-04-24 23:28

• 干部任免流程图2008-04-24 23:27

• 教师录用流程图2008-04-24 23:26


关注官方微信
本网由:沧州市第一中学文宣处主办
版权所有 沧州第一中学 Copyright© 2007 免责声明
冀ICP备19016029号-2
博川网络提供网站建设及技术支持