首页 > 校务公开> 面向教师公开 > 流程图
头条新闻
最新新闻
流程图

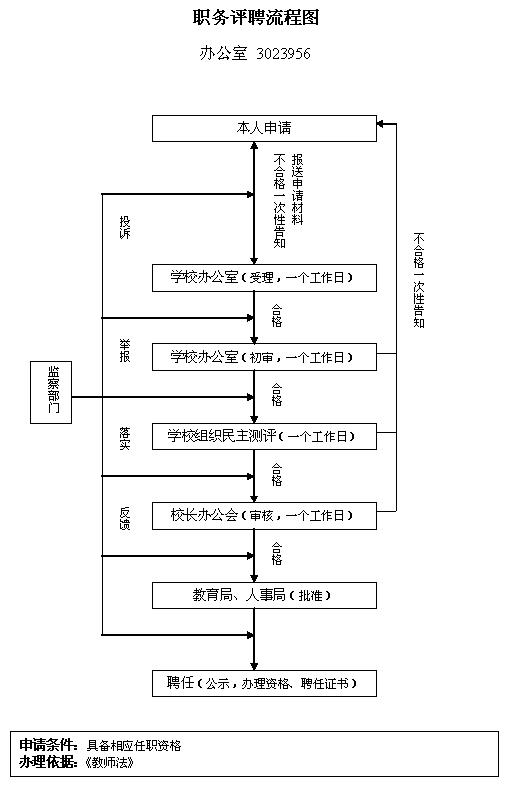
职务评聘流程图

日期:2008-04-24 23:28作者:佚名文章来源:本站原创点击数:6408次
 

关注一中官方微信

地址:上海路南侧、狮城公园以南、河北工专以北、迎宾大道以西 市内公交车16路直达
博川网络提供技术支持
版权所有 沧州第一中学 Copyright © 2007 免责声明
冀ICP备19016029号-2 沧公备13090302000291

本网由:沧州市第一中学文宣处主办